百度广告

新专利显示:苹果在密谋折叠屏iPhone

时间:2018-07-11 17:20 来源:快科技 点击:

作为手机领域下一个设计风口,三星已经把所有的精力都放到折叠屏手机开发上,而行业老大哥苹果自然不落后,他们跟进这个设计有关的专利也是被公布了出来。

新专利显示:苹果在密谋折叠屏iPhone

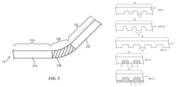
美国专利商标局公布了苹果拿下的一项新专利,这个“柔性屏电子设备”的专利,主要是介绍了苹果想要如何制造可折叠屏手机,两块柔性OLED屏,通过内置的铰链在一起,需要大屏的时候,直接展开就是了。

此外,苹果还对这种设备内部的电路板进行了特别设计,也是柔性电路板从而保证弯折不会影响到正常工作,而电池则是放在了不能折叠的中部固定位置内。

值得一提的是,这个柔性铰链可是双向性的,也就是说,这款设备的折叠是可以正反两个方向的,所以听起来还是很特别的,而除了手机外,这个专利也将延伸到所有的电子设备的设计中。

新专利显示:苹果在密谋折叠屏iPhone

    网友评论

    上一篇:一加6琥珀红首销当天获京东销量/销售额双冠军
    下一篇:三星Galaxy Tab S4平板现身:配套键盘、手写笔

    网站简介 - 网站声明 - 广告服务 - 合作伙伴 - 联系我们

    酷格网 www.cogew.com 邮箱:zhangzhen071190@126.com

    辽ICP备18000653号-1辽公网安备 21011402000161号