百度广告

任天堂在中国注册多个“Nintendo Switch”商标 玩家猜测应为保护性措施

时间:2018-11-21 19:28 来源:游民星空 点击:

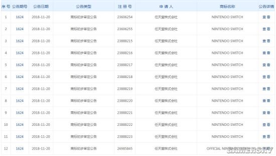
中国商标网在11月20日公开了一批新的商标初步审定公告,任天堂申请的一系列“Nintendo Switch”商标赫然在列,此外还有一张任天堂的官方封条商标。

游民星空

这些商标涉及到的使用商品和服务项目包括游戏机、手柄等电子设备,玩具、棋牌等周边产品,另外还有各种存储介质的游戏机用程序等一系列内容。不过大多数网友猜测这有可能是任天堂防止其他无良商家抢注商标的保护性措施,并不意味着国行Switch游戏机的到来。具体消息还要等待任天堂进一步的说明。

游民星空

游民星空

游民星空

    网友评论

    上一篇:《战地5》画师晒超帅艺术图 德国女军官婀娜多姿
    下一篇:国产神话古风动作游戏《幽林怪谈》上架Steam 12月18日发售

    网站简介 - 网站声明 - 广告服务 - 合作伙伴 - 联系我们

    酷格网 www.cogew.com 邮箱:zhangzhen071190@126.com

    辽ICP备18000653号-1辽公网安备 21011402000161号