百度广告

新专利预示:苹果手表打算用圆形表盘

时间:2018-05-09 15:50 来源:快科技 点击:

Apple Watch已经发展到三代了,而苹果也应该对这个产品进行大的改动了,所以外型上你更期待有什么突破呢,圆形表盘如何?

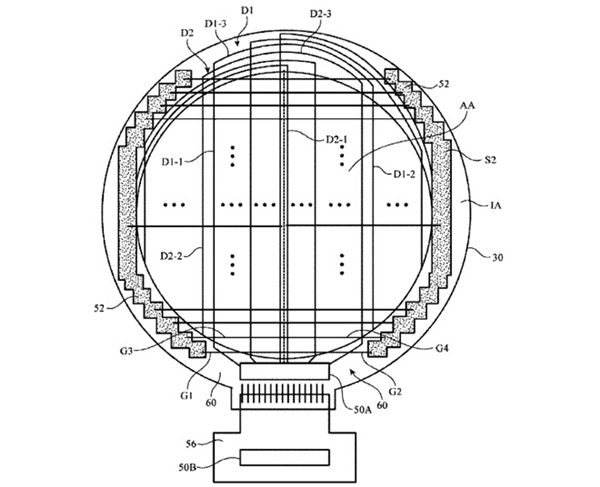
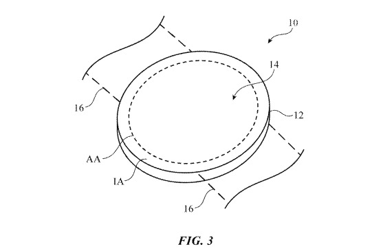
今天早些时候,美国专利和商标局授予苹果一项专利,那就是配置曲边显示屏的电子设备,这项专利描述了生产不同于移动设备中常见的长方形显示屏的显示屏的方法。

新专利预示:苹果手表打算用圆形表盘

这个专利意味着什么?苹果的确在Apple Watch上考虑用圆形表盘,而且方案也都已经成型,其在专利中还备注,可以通过减少像素数量,利用不规则的像素行和列,生产圆形显示屏。

据悉,折叠的像素列可以分布在圆形显示屏的两半部分,像素行的分布与列相似,组成更高效的显示屏。

新专利预示:苹果手表打算用圆形表盘

新专利预示:苹果手表打算用圆形表盘


    网友评论

    上一篇:杀回中国市场 LG手机这次也玩起了性价比
    下一篇:骁龙710/730规格参数曝光:8核8nm、集成NPU

    网站简介 - 网站声明 - 广告服务 - 合作伙伴 - 联系我们

    酷格网 www.cogew.com 邮箱:zhangzhen071190@126.com

    辽ICP备18000653号-1辽公网安备 21011402000161号